Линия производства карбамида (мочевины) (200 000-800 000 т/год)
Полный комплекс производства гранулированного карбамида с системой полной рециркуляции, отгонкой аммиака и удалением CO₂
Линия производства карбамида (мочевины) представляет собой комплексную систему для производства карбамида. Она эффективно преобразовывает аммиак (NH3) и углекислый газ (CO2) в высококачественный карбамид. Производственная линия реализует несколько промышленных процессов, включая полную рециркуляцию, отгонку аммиака и удаление CO2.
Получаемая мочевина, как правило, используется в качестве азотного удобрения, а также может служить ключевым промежуточным продуктом для производства мочевиноформальдегидной смолы, полиуретанов и меламиноформальдегидной смолы. Она широко применяется в фармацевтике, производстве взрывчатых веществ, обработке кожи, производстве флотационных реагентов и пигментов, при депарафинизации нефти.
- Полная рециркуляция
- Удаление CO₂
- Отгонка аммиака
Процесс полной рециркуляции стандартно используется при производстве карбамида с 1960-х годов. Данный промышленный процесс значительно способствовал развитие производства карбамида, увеличив производительность линий при снижении потребления аммиака и углекислого газа.
- Жидкий аммиак: NH₃ ≥ 99,5%, вода ≤ 0,5%, содержание масла ≤ 10 мг/кг
- Углекислый газ (CO₂): CO₂ ≥ 98,5% (об.), H₂S ≤ 15 мг/м³
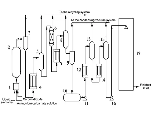
Предварительно нагретый жидкий аммиак, сжатый диоксид углерода и рециркулированный раствор карбамат аммония подаются в форреактор. Аммиак вступает в реакцию с диоксидом углерода, образуя карбамат аммония.
Затем реакционная смесь поступает в реактор синтеза карбамида (мочевины), где карбамат аммония дегидратируется до мочевины.
Раствор мочевины поступает в пресепаратор, где происходит отделение аммиака и карбамата аммония. Раствор карбамата подвергается поэтапному разложению и восстановлению через системы с промежуточным и низким давлением с применением парового нагрева для дальнейшего разложения карбамата.
После снижения давления и испарения остаточный аммиак и карбамат аммония удаляются. Далее раствор карбамида концентрируется через системы испарения при среднем и низком давлении под разными уровнями вакуума. Финальный расплав карбамида достигает концентрации ≥99,7%. Он подается в башню гранулирования, где распыляется и затвердевает в равномерные гранулы мочевины.
Схема технологического процесса:- Форреактор
- Реактор синтеза карбамида
- Пресепаратор
- Циркуляционный насос среднего давления
- Циркуляционный сепаратор среднего давления
- Ректификационная колонна
- Циркуляционный насос низкого давления
- Циркуляционный сепаратор низкого давления
- Бак мгновенного испарения
- Резервуар для раствора карбамида
- Насос для раствора карбамида
- Нагреватель первого этапа испарения
- Сепаратор первого этапа испарения
- Нагреватель второго этапа испарения
- Сепаратор второго этапа испарения
- Насос для расплава карбамида
- Грануляционная башня
Башня десульфурации, реактор синтеза карбамида, смеситель высокого давления, подогреватель среднего давления для разложения, сепаратор среднего давления для разложения, абсорбер среднего давления, конденсатор аммиака, колонна ректификации низкого давления для разложения, абсорбер низкого давления (первый и второй конденсаторы карбамата), абсорбционная башня для аммиака.
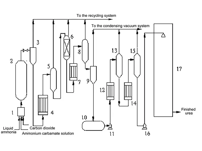
В процессе удаления CO₂ раствор для синтеза карбамата поступает в колонну отгонки, где углекислый газ течет противотоком при повышенной температуре. Паровое нагревание с внешней стороны способствует разложению и десорбции избыточного аммиака и аммонийного карбамата.
После отгонки раствор карбамата выводится из нижней части колонны, после чего происходит газожидкостное разделение. Полученный раствор, состоящий в основном из карбамата и воды, подвергается вакуумному выпариванию для достижения желаемой концентрации раствора перед окончательным затвердеванием.
- Реактор синтеза карбамида
- Башня отгонки
- Ректификационная колонна
- Циркуляционные подогреватели
- Конденсатор карбамата высокого давления
- Скруббер высокого давления
- Абсорбционная башня
- Конденсатор карбамата низкого давления
- Емкость для регулирования уровня
- Абсорбер
- Колонна анализатора
- Циркуляционный насос абсорбера
- Циркуляционный конденсатор
- Циркуляционный насос
- Охладитель
- Насос высокого давления для карбамата
- Циркуляционный насос абсорбера
- Охладитель для циркулирующей жидкости абсорбера
- Насос холодной жидкости бака мгновенного испарения
- Подающий насос колонны анализатора
- Теплообменник колонны анализатора
- Питательный бустерный насос для подачи в абсорбционную башню
- Охладитель верхней подачи
- Резервуар для аммиака
Процесс отгонки аммиака состоит из следующих основных этапов:
- Сжатие углекислого газа
- Накачка жидкого аммиака
- Синтез высокого давления и восстановление аммиака
- Разложение при среднем давлении и рециркуляция
- Разложение при низком давлении и рециркуляция
- Восстановление при среднем и низком давлении
- Вакуумное испарение и гранулирование
- Десорбция и гидролиз
Компания Delandi разрабатывает и производит оборудование для индустрии удобрений. Мы фокусируемся на проектировании процессов, производстве оборудования и повышении производственных показателей. Наша команда опытных профессионалов с глубокими техническими знаниями и компетенциями всегда готова к новым проектам!





